Products
Home » Catalog
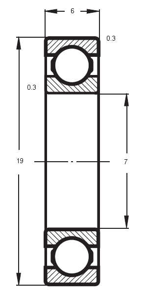
607 FLT Deep groove ball bearings
Ask for product print product details Save as PDF
Technical dataScheme
symbol 607
mass [kg]: 0.008
basic load rating (dynamic) C [kN] 2.88
basic load rating (static) Co [kN] 1.08
limiting speeds (grease) [min-1] 28000
limiting speeds (oil) [min-1] 36000
modification Z ZZ RS 2RS
d [mm] 7
D [mm] 19
B [mm] 6
rs min [mm] 0.3